💰💰 TAKE10: 10% Off Shipping (+$20 Orders) 💰💰

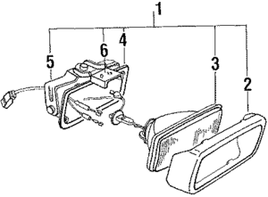
Fog Lamp Mount Bracket - Honda (34253-SF1-G01)

1988-1989 Honda Prelude - 34253sf1g01

Fog Lamp Mount Bracket - Honda (34253-SF1-G01)

Part can be found as reference #5 in illustration

Fog Lamp Mount Bracket - Honda (34253-SF1-G01)

1988-1989 Honda Prelude - 34253sf1g01

Discontinued Product

No Longer Available For Purchase

Packages shipped within the U.S. and Puerto Rico will automatically be protected from any loss, damage, and theft. Learn More

Manufacturer Warranty Minimum of 12 Months
Guaranteed Fitment Always the correct parts
Shop with Confidence Your information is safe
In-House Experts We know our products

Details

  • Brand:

     Parts

  • SKU:

    34253-SF1-G01

  • Positions: Left
  • Other Names:

    Bracket L (2)

  • Description:

    1988-89, to lamp.

Vehicle Fitment

Vehicle Fitment
Year Make Model Body & Trim Engine & Transmission
( more fitments)
No fitment data available

Product Reviews

Honda

Come get your OEM Honda Fog Lamp Mount Bracket (34253sf1g01) from Honda Acura Online at an affordable price. Also get fast shipping right to your home or work. Your Honda Fog Lamp Mount Bracket will be backed by a manufacture's warranty and is guaranteed to fit your 1988-1989 Honda Prelude vehicle.

Select your Honda Model to shop from its entire OEM parts catalog.